聯系我們
- 電話:
400-104-4024
- 手機:
181-2322-1766
- 東部服務地址:
上海市 金山區 楓涇鎮 環東1路
- 西部服務地址:
四川省 成都市 青羊區 光華東3路
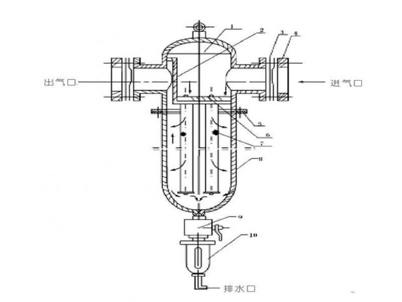
精密過濾器濾芯用來處理壓縮空氣系統中的雜質和潤滑油殘留,冷卻水(例如除油,除塵,微小的石沙,活性炭顆粒等)濾除經過介質過濾后的細小物質,以確保水質過濾精度。
400-104-4024

我們的服務:

公司信譽:
我們ORMD歐爾曼德空壓機是一家專注空氣壓縮系統設備生產的廠家,我們的產品覆蓋整個供氣系統。我們擁有現代化的生產和檢測設備為產品的品質提供保證,經驗豐富的技術研發團隊不斷向更優異的性能的產品探索,熱情細心的售后維護團隊及時為我們產品終身服務。ORMD歐爾曼德是良好的廣大用戶群體的口碑為證明,我們的產品以市場需求為導向,以品質為中心的優質商家。ORMD歐爾曼德主要提供無油空壓機、兩級壓縮空壓機、低壓螺桿空壓機,制氮空壓機-制氧空壓機-空壓機生產廠家直銷-后處理設備-開山鑿巖一體空壓機,冷干機,吸干機,過濾器,潤滑油,冷卻器,油水分離器,滅菌過濾器,純化器,后冷卻器,儲氣罐,出油過濾器,干燥機,等供氣系統產品及空壓機售后現場安裝和現場維護。


咨詢熱線
400-104-4024聯系電話
400電話
微信掃一掃